
聯系我們
FAG 29412-E1

- 型號:
- 29412-E1
- 品牌:
- FAG
- 系列:
- 294..-E1
- 內徑:
- 60 mm
- 外徑:
- 130 mm
- 厚度:
- 42 mm
- 起訂量:
- ≥ 1套
- 物流:
- 全國配送

- 電話:

恩梯必專業銷售FAG 29412-E1,能為客戶提供各種技術服務,軸承選型及型號替代等解決方案,需要29412-E1最新規格、圖紙、報價等資料可聯系我司銷售部!
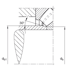
- 尺寸
- d
- 60
- mm
- D
- 130
- mm
- T
- 42
- mm
- A
- 38
- mm
- D1
- 85.5
- mm
- Da max
- 107
- mm
- Db min
- 133
- mm
- d1
- 116.5
- mm
- da min
- 95
- mm
- db max
- 67
- mm
- ra max
- 1.5
- mm
- rmin
- 1.5
- mm
- T1
- 21
- mm
- T3
- 27
- mm
- T5
- 37.5
- mm
- 重量
- m
- 2500
- g
- 質量
- 基本額定載荷
- Ca
- 410000
- N
- 基本額定動載荷,軸向
- C0a
- 940000
- N
- 基本額定靜載荷,軸向
- 極限轉速
- nG
- 5900
- r/min
- 極限轉速
- 參考轉速
- nB
- 2800
- r/min
- 參考速度
- 疲勞極限載荷
- Cua
- 113000
- N
- 疲勞極限載荷,軸向
FAG軸承型號搜索
FAG-INA軸承產品中心
產品中心
產品搜索
類別目錄
北京恩梯必科技有限公司版權所有




